Y 型微通道两相流内部流动特性
微流控芯片实验室可将化学或生物实验室微缩到一块数平方厘米的芯片上,而微流控芯片在化学和生物医学的多相流研究领域中有着广泛的应用,如化学合成、生物制药、药物筛选,以及食品和化妆品行业中的乳化技术等. 与常规方法相比,用微通道产生的微滴具有较高的均一性,而且生成过程快,频率高.
不同的应用领域中由于微流控芯片作用不同,对所形成液滴大小的要求也就不同. 因此,针对不同结构的微通道,合理控制和预测不同工况条件下液滴尺寸大小及生成周期,对工业应用有着重要的指导意义. 制约着生成液滴大小的因素有很多,如分散相黏度、两相流动速度比值、微通道尺寸、壁面对两相流的润湿性等. 不同的交汇方式,两相流型也存在差异,Zhao 等在 T 型入口处观察到了弹状流、单分散油滴、小滴群、光滑界面平行流、波动界面平行流、混乱细条纹流等流型. Cubaud 等研究了十字聚焦型微通道内液液两相流的流型,观测到螺纹型、喷射型、滴状型、管状型、滑移型 5 个流型. Dessimoz 等发现同样条件下 Y 型入口的微通道中容易形成平行流. 骆广生等提出液液非均相体系的流动与混合行为主要有 3 种形式:平行流、弹状流、滴状流.
对于微通道内部两相液体流动状态,也有学者利用显微测速系统,针对不同的两相交汇结构进行了实验研究. Steijn 等通过显微粒子成像测速系统对 T 型结构微通道内气泡形成过程中流动区域进行了观测. 分别观察了微通道不同平面深度下连续相酒精的速度分布,并发现气泡快速收缩发生在颈缩半径为通道宽度的四分之一处. King 等利用 T型微通道,观察到在不同液滴移动速度下液滴内部的速度变化,发现当液滴移动速度较快时,液滴内部速度呈现内循环流动.
根据微通道几何构型、尺寸的不同,可以将其设计和改进成各种用途的微元器件,其中 T 型结构和聚焦型结构微通道是比较有效的方式,目前的研究成果较多. 而关于 Y 型微通道的研究多集中于两相混合后的流型分析,对于液滴大小、形成周期的影响因素还缺少系统研究. 因此本研究以不同角度的 Y型微通道为研究对象,对液滴形成的大小及其影响因素进行分析,并从微通道内部速度矢量分布情况来进一步解释不同情况下液滴形成周期、大小存在差异的原因.
1 实验材料和方法
1.1 微通道尺寸及形状
本文实验所用微通道的材质为聚二甲基硅氧烷(PDMS). 主要加工方式为在微通道模板上浇注聚二甲基硅氧烷,随后待聚二甲基硅氧烷凝固后脱模,最后将脱模后的聚二甲基硅氧烷与基板密封 (plasmatreat),加工粗糙度 6 0.2μm. 连续相、分散相微通道长均为 12 mm,主通道长 20 mm;Y 型微通道 Y 型角度 (α) 分别为 45?, 90?, 135?, 180?; 微通道截面为500μm×500μm 的矩形截面,如图 1 所示.
图 1 Y 型微通道示意图
1.2 实验装置
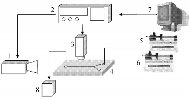
显微粒子图像测速技术 (micro-PIV) 是基于图像分析的无扰动流场测量技术,实验装置图如图 2 所示. 实验中采用直径为 3.2μm 的示踪粒子,为避免示踪粒子粘连在微通道壁面上,向添加示踪粒子的液体中加入 0.2% 的吐温 20 (Tween20). 显微镜放大倍数为 5 倍,激光强度为 770. 此外实验中还利用高速摄影技术对 Y 型微通道内两相流动现象进行了图像采集,每秒保存 250 帧. 分散相液体为液体石蜡,连续相液体为无水乙醇,实验测量的液体性质参数见表 1. 实验在室温 (20?C) 及常压条件下进行。
图 2 Micro-PIV 实验装置图
1 激光发生器;2 激光控制及同步器;3 CCD 和显微镜;4 微芯片;5 分散相微注射泵;6 连续相微注射泵;7 数据采集和分析系统;8 回收系统
表 1 20?C 时分散相、连续相液体的黏度、密度及界面张力

1.3 数值计算方法
本文利用计算流体力学软件 CFD-ACE+ 进行三维数值模拟. 采用结构化六面体网格进行模拟,选用Y 型角度为 90? 微通道模型进行网格依赖性验证,其中连续相入口流量 400 μL/min,分散相入口流量2 μL/min,不同网格量下计算所得液滴直径及生成周期结果如表 2 所示. 在其他条件相同的情况下,网格数为 209 200 与网格数为 78 000 计算所得的液滴直径及生成周期的相对误差在 0.6% 以内,可见本模拟对网格的依赖性不大,因而可以采用网格数为 78 000进行数值模拟. 其余 Y 型角度的网格数集中在 7 万至 8 万之间。
表 2 网格依赖性比较
免责声明:文章来源网络 以传播知识、有益学习和研究为宗旨。 转载仅供参考学习及传递有用信息,版权归原作者所有,如侵犯权益,请联系删除。
标签:   微流控芯片
- 上一条Y 型微通道两相流内部流动特性下
- 下一条微球微流控介绍
