T型微流控芯片中微液滴破裂的数值模拟
随着MEMS技术的迅猛发展,微流控芯片实验室(Lab-on-chip)已可将生物或化学实验室微缩到一块数平方厘米的芯片上。微流控芯片在生物医学多相流研究领域有广泛的应用,如DNA聚合酶链式反应分析,蛋白质结晶过程,制备微纳米球颗粒等。
微流控芯片的各种应用中,微液滴技术在近年来得到了快速的发展。所谓微液滴技术是基于微流控芯片发展起来的一种全新的操纵微小体积液滴的技术,可以实现微液滴的稳定生成,表面处理,破裂,融合及多层液滴制备等。微液滴可作为容器进行酶反应动力学分析、微球颗粒的合成、蛋白质结晶分析、微生物培养及临床上的药物缓释等。此外在工程应用领域,微液滴还可以作为高精度成像技术里的感光剂,喷墨系统的添加剂,食品中的添加剂等。
微液滴的尺寸均一度,单分散性和数量需求使得利用特殊方法使微液滴再破裂尤为重要。Shia等提出了液滴的主动破裂和被动破裂机理;Link等实现了微液滴在多阶T型结构破裂,显著提升了液滴的数量;Jullien等实验研究了T型交错结构处微液滴隧道破裂和阻塞破裂两种机理;Menech应用相场方法模拟了三维大液滴在T型结构处的破裂,探究了液滴破裂的影响因素。贺丽萍等采用VOF方法模拟了微管道末端微液滴破裂生成的过程;刘志鹏等研究了T型节点下游处的射流状和滴状两种液滴生成方式。
目前的研究主要集中在实验测量,由于实验工况的限制无法深入探究微液滴是否发生破裂的条件和机理。数值模拟方面,研究者一般采用相场方法和格子玻耳兹曼方法进行研究,由于计算量较大,尚未开展较小毛细数工况的模拟,且尚无利用VOF方法进行数值模拟的成功先例。因此,本文拟通过Fluent软件的VOF模型模拟T型微通道内微液滴的被动破裂过程,研究主流流体表观速度,微液滴大小和两相黏性等因素对液滴破裂机理的影响,总结发生破裂的预测方法,为工程实际应用提供指导。
1数理模型
1.1控制方程
在微尺度条件下,油水两相均视为不可压缩黏性流体。忽略重力后,连续性方程和动量方程可简化为
式中F为表面张力。
微尺度条件下表面张力的作用由连续表面力模型(CSF)模拟,本课题组曾采用此模型成功模拟了微通道中Taylor气泡的生成过程.获得了两相体积分数后,油水相界面采用PLIC算法进行几何界面重。N-S方程的数值求解中,选用 PRESTO!算法为压力插值方案,压力速度耦合采用 PRESTO算法。Courant数,时间步长、亚松弛迭代因子等参数在计算过程中根据计算结果的稳定性以及收敛性选取。
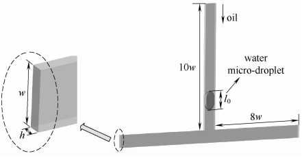
1.2型微通道的结构及几何尺寸
1.3模型有效性验证
为了验证本文模型,针对Jullien等的微液滴破碎实验进行了模拟,结果如图)所示。实验中通道截面为80um*80um,连续相为水,离散相为氟化油,黏度比为1.67,表面张力为0.0154N-m-1毛细数ca=0.016。从图中可以看出,数值模拟与实验吻合较好,验证了本文模型的有效性。
图1T型交错结构的几何模型
图2模型有效性验证
2结果与讨论

2.1微液滴的流型
初始时刻微液滴被主流流体包围,在垂直段主流流体的推动下,微液滴由于表面张力的作用而发生变形且稳定向下流动。在不同的黏度比和毛细数下,微液滴通过T型通道交叉截面时会出现破裂或者不破裂两种情形,结果分别如图3图4所示。
图3微液滴破裂
图4微液滴未破裂
图3是微液滴破裂的过程,微液滴受到主流流体的剪切作用,在T型微通道交错处发生较大变形而向两侧伸展,最后挣脱表面张力,破裂为两个同样大小的子液滴,并分别流向水平段两侧。这里表面张力和流动剪切力占据主导地位,微液滴破裂是由于在交错结构处随着主流流体的不断冲击使得流动剪切力大于表面张力而挣脱其束缚发生了破裂。图4中微液滴在交错处挤压变形同时向两侧延展,此时流体的剪切力不足以使微液滴挣脱表面张力的束缚而断裂,最后在微小随机扰动下而流向任意一侧。
2.2临界毛细数
微流体流动过程中,微液滴的破裂与否关键在于表面张力和流动剪切力的竞争。在微尺度条件下,常用毛细数ca来表征表面张力和黏性作用力的影响
式中;u和u分别为主流流体的流速及黏度,a为表面张力。对于一定轴向长度的微液滴lo,必然存在一个临界毛细数ca,当大于这个数值时,微液滴发生破裂,否则不破裂。Link等提出了微液滴发生破裂的临界毛细数ca与微液滴的轴向相对长度$的关系式

图5临界毛细数与微液滴相对轴向长度$*的关系
2.3两相黏度的影响
黏度是流体黏滞性的量度,黏度越大内摩擦力越大。通过改变主流流体黏性,探讨了黏度比对微液滴破裂的影响。发现黏度比越小,微液滴越不易发生

图6临界毛细数与微液滴相对轴向长度$*的关系
由图5-7可以发现,在相同的液滴初始尺寸下,临界毛细数随两相黏度比。的增大而减小。这是因为。的增大意味着连续相黏度的减小,但是两相的表面张力不变,要使得液滴破裂,必须提升流速。由于流速对临界毛细数的影响要大于黏度的影响,即小幅提升流速即可导致液滴破裂,因此。的增大会使临界毛细数减小。
3结论
本文以微流控芯片内的液液两相流为研究对象,通过VOF模型数值模拟了T型微通道内微液滴破裂的过程,获得了较好的相界面,得到以下结论。
图7临界毛细数与$的关系
(1)微液滴在T型交错结构处有破裂和不破裂两种可能,是否破裂由临界毛细数决定。高于此毛细数时液滴发生破裂,生成两个大小一致的子液滴,当Ca数较小时微液滴不发生破裂而沿着T型通道流向任一侧。
(2)通过多个工况的计算,拟合了不同黏度比下临界毛细数与微液滴相对轴向长度的关系。
(3)探讨了黏度比对微液滴破裂的影响,发现相同流速下,主流流体黏性越大,微液滴越易发生破裂。
文献来源化工学报 DOI:10.3969/j.issn.0438-1157.2012.04.001 作者:王澎 陈斌(转载仅供参考学习及传递有用信息,版权归原作者所有,如侵犯权益,请联系删除)
