基于液滴微流控技术的复合乳粒形貌调控
复合乳粒是一种复杂的多层嵌套体系,在乳粒中包含更小的乳粒,由于复合乳粒具有体系封闭、大小均匀、内部结构可设计、稳定等优点,在药物传递与运输、化妆品行业、生物医学等领域表现出巨大的应用潜力。随着复合乳粒应用领域的扩展,相关应用领域对复合乳粒尺寸、形貌要求逐渐严格。例如,球形水-油-水复合乳??杀挥糜诩す夤咝栽际郾?inter confinement fusion, ICF)靶用聚合物微球的制备及球形光子晶体的制备;异形复合乳粒因特殊的内外部结构而被用于多功能微颗粒的制备。例如,在药物运输中,异形复合乳??纱娲⒔锨蛐胃春先榱8嗟姆庾安牧希⒖赏ü账趵创俳庾安牧系氖渌陀氪?;此外,在材料制备领域,异形复合乳粒体系为构建新型多孔吸附材料提供优良模板。因此,实现复合乳粒尺寸、形貌结构的精确控制是满足复合乳粒多功能应用的前提。随着乳粒应用的不断扩展,乳粒的制备方法也在不断完善。在传统制备方法中,搅拌法、界面聚合法及喷雾法均可实现复合乳粒的高通量制备,但这些方法制备的乳粒尺寸、形貌结构难以实现精确调控。液滴微流控技术因具有优良的微流体操控能力在乳粒制备中倍受青睐,该技术在微尺度空间内精确操控多相流体的流动与分散,从而实现复合乳粒尺寸、形貌结构的精确调控。根据几何结构的不同,将微流控通道分为双 T 型微通道、流动聚焦微通道、同轴共流微通道,双 T 型微通道由 2 个 T 型通道串联而成,乳粒在交叉口被错流剪切而产生,且通道每一级管道需经过相应的表面改性处理。流动聚焦微通道是在T 型通道基础上改进而来,因其颈部具有剪切聚焦功能而适合制备小尺寸乳粒,外相流体环绕四周对内、中流量流体进行均匀剪切。同轴共流微通道中外相与内、中流量流体平行流动,均匀剪切,乳粒受力均匀,产生稳定,装置搭建简单灵活,可多级组装,对制备单分散性复合乳粒有很好的应用前景。而在同轴共流通道中,根据中间相与外相管道末端的相对位置,分为“一步法”和“两步法”通道。其中,在“一步法”通道制备乳粒时,内相和中间相同时被外相剪切,一次性生成复合乳粒,存在两个界面,界面演化行为更加复杂;在“两步法”通道中,复合乳粒分两步产生,中间相剪切内相流体形成内液滴,内液滴随中间相流动,进一步在外相对中间相的剪切作用下形成复合乳粒。在已有研究中,Chu 等利用组装的同轴共流式微通道制备球形复合乳粒,通过调节体积流量及通道的多级结构制备出含不同内液滴数目的球形复合粒;Shao 等采用“一步法”和“两步法”的同轴乳粒发生器,综合研究了流体体积流量对球形复合乳粒尺寸的影响规律及其变化机理,并发现装置结构的微小差异会导致乳粒形成机制和尺寸控制规律的显著差异;Xu 等采用双同轴微流控通道系统研究了三相体积流量对微气泡、乳粒大小和内液滴数目的影响。Weitz 等以玻璃毛细管微流控装置制备的复合乳粒作为构建单分散胶质体的模板,并发现异形乳粒比球形乳粒聚集的密度更大,且后续操作中异形胶囊可存储更多的封装材料。具有特殊分层结构的复合乳粒被广泛应用于多孔材料的制备及油水分离领域。然而,目前在复合乳粒的微流控构建研究中,多数研究集中在球形乳粒产生机理、尺寸调控及应用拓展方面,关于复合乳粒形貌结构调控规律的研究仍然缺乏。
为实现水-油-水复合乳粒尺寸、形貌结构的精确调控并获得乳粒形貌的变化规律,本研究采用“两步法”同轴共流式乳粒发生装置开展乳粒形貌调控研究。通过研究各相体积流量对复合乳粒内外径尺寸及内液滴数目的影响,依据流体体积流量与液滴体积之间的质量守恒,实现内液滴数目的精准预测及调控;通过调控复合乳粒内液滴尺寸及数目,实现水-油-水复合乳粒的形貌结构的精确控制。
实验装置
如图 1 所示为“两步法”同轴乳粒发生器,图中,内、中、外三相管道内径分别用 D1、D2、D3 表示,三相管道是内径分别为 0.3、0.6、1.5 mm,外径分别为 0.4、0.84、1.8 mm 的玻璃毛细管。将毛细管浸泡在乙醇中,超声 30 min 后取出,干燥。其中,中间相管道用添加十八烷基三甲氧基硅烷的丙酮溶液做疏水处理。采用同轴式工艺组装搭建,过程中使多根玻璃毛细管轴心线尽量靠近。制备的乳粒内外径分别用为 d1、d2 表示。
图 1 “两步法”同轴毛细管微通道实物图及示意图
该装置的优点是具有良好的同轴性,三相流体从同一方向进入,平行流动,外相流体对内、中流体均匀剪切,乳粒受力均匀,产生稳定。通道搭建简单灵活,易于操作。采用不同操作条件对水-油-水复合乳粒内外径尺寸及内液滴数目进行调控,进而实现水-油-水复合乳粒的形貌结构的精确可控制备。
实验试剂和仪器
内相和外相流体均是聚乙烯醇水溶液,中间相是添加光引发剂和乙氧基化三羟基甲基丙烷三丙烯酸酯的混合溶液,微量注射泵。
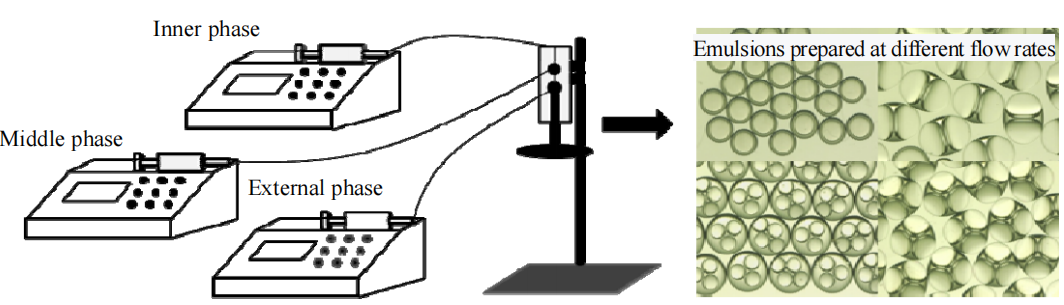
乳粒的制备
将质量分数为 2%的 PVA 水溶液、体积分数为 1% HMPP 和 ETPTA 混合溶液、质量分数为 2% PVA水溶液分别作为内、中、外三相流体,依次装入 5、5、50 mL 的注射器并固定在注射泵上,将搭建好的发生器垂直固定在铁架台上,用管道连接。通过调节三相体积流量来调控复合乳粒形貌结构,收集不同体积流量下制备的复合乳粒并置于高精度光学显微镜下观测分析,如图 2 所示(所有实验均在室温下进行)。
结果
通过改变三相流体的体积流量制备不同形貌结构的复合乳粒。研究三相流体的体积流量对复合乳粒内外径尺寸的影响规律,再通过调控内外径尺寸控制内液滴数目,进一步对复合乳粒的形貌结构进行调控,最后得到内含不同液滴数目的球形及异形复合乳粒。
免责声明:文章来源高?;Чこ萄П?/span> 以传播知识、有益学习和研究为宗旨。 转载仅供参考学习及传递有用信息,版权归原作者所有,如侵犯权益,请联系删除。
标签:   液滴微流控
